Logo Vakantiehuisjes.nl Logo Vakantiehuisjes.nl
  • Actueel & betrouwbaar
  • Direct boeken
  • Lage prijzen

6 persoons vakantie huis in Åhus-By Traum

|
Bekijk op kaart
6 persoons vakantie huis in Åhus-By Traum
6 persoons vakantie huis in Åhus-By Traum
6 persoons vakantie huis in Åhus-By Traum
+ 53 foto's
6 persoons vakantie huis in Åhus-By Traum
€148,14 v.a. prijs per nacht

De laagste prijsgarantie!

Heb je een vraag over dit vakantiehuis?

Neem contact met ons op

  • Wifi
  • Vakantiehuis
  • Afwasmachine
  • Oven / magnetron
  • Douche
  • Wasmachine
Alle voorzieningen

Omschrijving

6 persoons vakantie huis in Åhus-By Traum

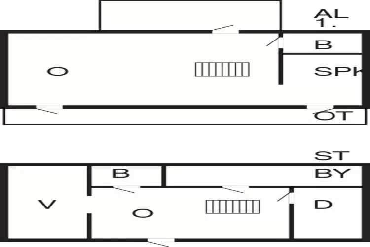
Willkommen in einem der schönsten Ferienorte der Region Skåne, in Åhus! Hier erwartet Sie ein komfortables Ferienhaus im Grünen, nur 600 m vom Strand entfernt. Sie wohnen hier in attraktiver Umgebung mit guten Restaurants, vielen Aktivitäten und nicht zuletzt fantastischen Stränden. Verbringen Sie hier erholsame Urlaubstage in dieser Villa mit herrlicher Aussicht, mehreren Sitzplätzen im Freien und einem großen Grundstück! Im Eingangsbereich im Erdgeschoss befinden sich ein Schlafzimmer, ein Familienzimmer mit Klappbett (140 cm), Abstellmöglichkeiten, ein Badezimmer und eine Waschküche. Im Obergeschoss finden Sie den offenen Küchen-/Wohnbereich mit Ess- nund Sitzecke für das Familienleben. Entspannen Sie sich auf dem Sofa vor dem Kamin, während Sie in die Baumwipfel blicken. Es gibt auch ein Badezimmer auf der oberen Ebene. Beide Badezimmer verfügen über eine Dusche. Sie haben ein Schlafsofa im Wohnzimmer. Von der oberen Ebene haben Sie die Möglichkeit, durch große, schöne Glastrennwände auf zwei größere Balkone hinaus zu treten. Hier kann man die Sommerabende wunderbar genießen! Ein Lieblingsplatz, an dem man gerne bei einem Kaffee oder einem Glas Wein den Tag ausklingen lässt. In Skåne und Blekinge gibt es in angemessener Entfernung viel zu entdecken. Allein in Åhus gibt es Padel, Minigolf, Tennisplätze und vieles mehr. Auch baden, angeln, wandern oder Rad fahren ist unweit möglich. n Weitere Sehenswürdigkeiten und Ausflugsziele sind die Seen Bosarpsjön, Hammarsjön und Ringsjön sowie Skåne Djurpark, Fulltofta Nature Center und Kristianstad Golf Club. Bei Vaxsjön besteht auch die Möglichkeit, gegen eine geringe Gebühr ein Boot zu mieten. Wenn Sie genug vom Süßwasser haben und an einem der schönsten Strände in Skåne baden möchten, ist Yngsjöstrand ideal gelegen. Entlang der Küste in Richtung Österlen gibt es auch Kiviks Musteri, Stenshuvud, Karl Fredrik in Eklaholm und vieles mehr zu sehen. Dieses Ferienhaus steht auf demselben Grundstück wie das Ferienhaus 50863. Sie können also beide Häuser mieten, falls Sie mehr als 6 Personen anreisen möchten. Das gemeinsame Grundstück ist 1.400 m2 groß. HINWEIS: Keine Vermietung an Jugendgruppen erwünscht!

Belangrijke informatie
Populaire filters Wifi
Type vakantiehuisje Vakantiehuis
Over het vakantiehuisje
  • Gelegen inÅhus
  • Aankomst vanaf 00:00 tot 00:00
  • Vertrektijd 00:00

Voorzieningen

Dit maakt jouw verblijf onvergetelijk

Faciliteiten
Voorzieningen
  • Afwasmachine
  • Douche
  • Koelkast
  • Oven / magnetron
  • Vriezer
  • Wasmachine
  • Wifi

Op de kaart

Alle informatie die je nodig hebt voor de juiste beslissing!

Het weer
Weather Icon 11°C Lichte regenbui
Minimaal 9°C
Maximaal 15°C
Komende dagen
  • ma. 06 16°/10° 100%
  • di. 07 15°/9° 100%
  • wo. 08 15°/8° 100%
  • do. 09 15°/8° 85%
  • vr. 10 14°/11° 79%

Het klimaat in Åhus

Het weer het gehele jaar

Maand Temperatuur (°C) Luchtvochtigheid (%) Neerslagsom (mm)
Januari /-2° 88% 46 mm
Februari /-2° 85% 33 mm
Maart /-1° 80% 36 mm
April 10°/2° 73% 33 mm
Mei 16°/6° 71% 37 mm
Juni 20°/10° 73% 52 mm
Juli 22°/13° 74% 61 mm
Augustus 21°/13° 77% 67 mm
September 17°/10° 81% 61 mm
Oktober 12°/6° 85% 56 mm
November /2° 88% 53 mm
December /-1° 89% 49 mm

Veelgestelde vragen

Antwoorden op de meest gestelde vragen over deze accommodatie

Mag ik mijn huisdieren meenemen naar 6 persoons vakantie huis in Åhus-By Traum?
Nee, het is niet toegestaan om huisdieren mee te nemen naar 6 persoons vakantie huis in Åhus-By Traum
Is er wifi beschikbaar bij 6 persoons vakantie huis in Åhus-By Traum?
Ja, deze accommodatie beschikt over wifi en wifi.
Is er airco aanwezig bij 6 persoons vakantie huis in Åhus-By Traum?
Nee, deze er is op deze accommodatie geen airco aanwezig.
Wat zijn de in- en uitchecktijden voor 6 persoons vakantie huis in Åhus-By Traum
Inchecken kan vanaf 00:00 en uitchecken tot 00:00.
Heeft 6 persoons vakantie huis in Åhus-By Traum een bad?
Nee, 6 persoons vakantie huis in Åhus-By Traum heeft geen bad.
Kan ik mijn auto parkeren bij 6 persoons vakantie huis in Åhus-By Traum?
Nee, het is niet mogelijk om je auto op het terrein van de accommodatie te parkeren.
Kan ik zwemmen bij 6 persoons vakantie huis in Åhus-By Traum?
Nee, er zijn geen zwemfaciliteiten 6 persoons vakantie huis in Åhus-By Traum aanwezig.

Andere accommodaties in de buurt

Misschien vind je dit ook leuk

Direct te boeken
4 persoons vakantie huis in ÅHUS-By Traum
4 persoons vakantie huis in ÅHUS-By Traum
Wifi Vakantiehuis Verwarming Oven / magnetron
Direct te boeken
4 sterren vakantie huis in åHUS-By Traum
4 sterren vakantie huis in åHUS-By Traum
Verwarming Oven / magnetron Douche Wifi
Direct te boeken
4 persoons vakantie huis in ÅHUS-By Traum
Direct te boeken
4 persoons vakantie huis in YNGSJÖ, SVERIGE
4 persoons vakantie huis in YNGSJÖ, SVERIGE
Wifi Vakantiehuis Wasmachine Verwarming
Direct te boeken
6 persoons vakantie huis in YNGSJÖ, SVERIGE
6 persoons vakantie huis in YNGSJÖ, SVERIGE
Vakantiehuis Wifi Wasmachine Verwarming
Direct te boeken
8 persoons vakantie huis in YNGSJÖ, SVERIGE
8 persoons vakantie huis in YNGSJÖ, SVERIGE
Vakantiehuis Wifi Afwasmachine Wasmachine
Direct te boeken
4 sterren vakantie huis in YNGSJÖ-By Traum
4 sterren vakantie huis in YNGSJÖ-By Traum
Afwasmachine Wasmachine Verwarming Oven / magnetron
Direct te boeken
7 persoons vakantie huis in YNGSJÖ-By Traum
7 persoons vakantie huis in YNGSJÖ-By Traum
Vakantiehuis Afwasmachine Wasmachine Oven / magnetron
Plaatsen in de buurt
6 persoons vakantie huis in Åhus-By Traum

Zweden - Skåne - Åhus

Fotoboek
Filteren:
badkamers
6 persoons vakantie huis in Åhus-By Traum-Buitenlucht
6 persoons vakantie huis in Åhus-By Traum-Buitenlucht
6 persoons vakantie huis in Åhus-By Traum-Buitenlucht
6 persoons vakantie huis in Åhus-By Traum-Buitenlucht
6 persoons vakantie huis in Åhus-By Traum-Buitenlucht
6 persoons vakantie huis in Åhus-By Traum-Buitenlucht
6 persoons vakantie huis in Åhus-By Traum-Buitenlucht
6 persoons vakantie huis in Åhus-By Traum-Buitenlucht
6 persoons vakantie huis in Åhus-By Traum-Buitenlucht
6 persoons vakantie huis in Åhus-By Traum-Buitenlucht
6 persoons vakantie huis in Åhus-By Traum-Buitenlucht
6 persoons vakantie huis in Åhus-By Traum-Buitenlucht
6 persoons vakantie huis in Åhus-By Traum-Buitenlucht
6 persoons vakantie huis in Åhus-By Traum-Binnen
6 persoons vakantie huis in Åhus-By Traum-Buitenlucht
6 persoons vakantie huis in Åhus-By Traum-Buitenlucht
6 persoons vakantie huis in Åhus-By Traum-Buitenlucht
6 persoons vakantie huis in Åhus-By Traum-Binnen
6 persoons vakantie huis in Åhus-By Traum-Binnen
6 persoons vakantie huis in Åhus-By Traum-Binnen
6 persoons vakantie huis in Åhus-By Traum-Niet-getagd
6 persoons vakantie huis in Åhus-By Traum-Binnen
6 persoons vakantie huis in Åhus-By Traum-Binnen
6 persoons vakantie huis in Åhus-By Traum-Niet-getagd
6 persoons vakantie huis in Åhus-By Traum-Niet-getagd
6 persoons vakantie huis in Åhus-By Traum-Binnen
6 persoons vakantie huis in Åhus-By Traum-Niet-getagd
6 persoons vakantie huis in Åhus-By Traum-Buitenlucht
6 persoons vakantie huis in Åhus-By Traum-Niet-getagd
6 persoons vakantie huis in Åhus-By Traum-Buitenlucht
6 persoons vakantie huis in Åhus-By Traum-Binnen
6 persoons vakantie huis in Åhus-By Traum-Buitenlucht
6 persoons vakantie huis in Åhus-By Traum-Buitenlucht
6 persoons vakantie huis in Åhus-By Traum-Niet-getagd
6 persoons vakantie huis in Åhus-By Traum-Buitenlucht
6 persoons vakantie huis in Åhus-By Traum-Binnen
6 persoons vakantie huis in Åhus-By Traum-Buitenlucht
6 persoons vakantie huis in Åhus-By Traum-Niet-getagd
6 persoons vakantie huis in Åhus-By Traum-Buitenlucht
6 persoons vakantie huis in Åhus-By Traum-Binnen
6 persoons vakantie huis in Åhus-By Traum-Binnen
6 persoons vakantie huis in Åhus-By Traum-Binnen
6 persoons vakantie huis in Åhus-By Traum-Binnen
6 persoons vakantie huis in Åhus-By Traum-Binnen
6 persoons vakantie huis in Åhus-By Traum-Binnen
6 persoons vakantie huis in Åhus-By Traum-Binnen
6 persoons vakantie huis in Åhus-By Traum-Niet-getagd
6 persoons vakantie huis in Åhus-By Traum-Binnen
6 persoons vakantie huis in Åhus-By Traum-Niet-getagd
6 persoons vakantie huis in Åhus-By Traum-Binnen
6 persoons vakantie huis in Åhus-By Traum-Niet-getagd
6 persoons vakantie huis in Åhus-By Traum-Binnen
6 persoons vakantie huis in Åhus-By Traum-Plattegrond
6 persoons vakantie huis in Åhus-By Traum-Niet-getagd
6 persoons vakantie huis in Åhus-By Traum-Plattegrond
6 persoons vakantie huis in Åhus-By Traum-Plattegrond
1/ 56